气浮成套设备
一、概述:
气浮法净水工艺是在被处理的水中,通入大量微气泡,使之粘附于水中不易沉降的微小颗粒周围,在微气泡浮力的作用下迅速地浮至水面,进行撇除刮集,从而达固液分离水质净化的目的。该工艺技术具有分离效果好、浮渣含水率低等优点。
SSDQF型气浮成套装置采用的是部分回流加压溶气气浮法,部分回流加压溶气气浮法是加压溶气气浮法的一种。它是利用水泵将经气浮处理后的净水部分回流加压打入溶气罐,同时通过空压机将压缩空气送入溶气罐,空气在一定的压力条件下溶入水中,然后通过释放器将溶气水压力恢复到常压,释放出的大量微细气泡与原水中的絮粒粘附后,絮粒与气泡复合体共同浮上水体表面从而达到与水分离的目的。
SSDQF型气浮成套装置主要由池体、刮渣机、溶气水回流系统、溶气水释放系统、集水系统、电控系统等部分组成。
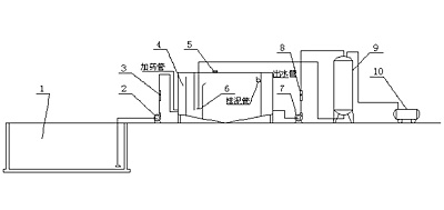
工艺流程图:

1、调节池 2、污水泵 3、进水流量计 4、气浮池
5、刮渣机 6、释放器 7、溶气水泵 8、溶气水流量计
9、溶气罐 10、空压机
二、主要技术参数:
1、原水浊度≤100度
2、接触室上升流速10~20mm/s,分离室向下流速1.5~2.5mm/s
3、溶气压力:0.35~0.40mpa
4、回流比30~40%
三、适用范围
1、给水处理
2、炼油、化工、造纸污水处理
3、制革、纺织、印染污水处理
4、钢铁、橡胶、制药污水处理
5、食品、生活污水处理
四、主要型号
|
序号 |
型号 |
处理水量
(m3/h) |
功率(kw) |
溶气罐直径
(mm) |
|
溶气泵 |
空压机 |
刮渣机 |
|
1 |
SSDQF10 |
10 |
3 |
0.37 |
0.55 |
400 |
|
2 |
SSDQF15 |
15 |
4 |
0.37 |
0.55 |
400 |
|
3 |
SSDQF20 |
20 |
4 |
0.37 |
0.55 |
400 |
|
4 |
SSDQF30 |
30 |
5.5 |
0.75 |
0.55 |
600 |
|
5 |
SSDQF 40 |
40 |
5.5 |
0.75 |
0.55 |
600 |
|
6 |
SSDQF 50 |
50 |
5.5 |
0.75 |
0.55 |
800 |
|
7 |
SSDQF 60 |
60 |
7.5 |
1.5 |
0.75 |
800 |
|
8 |
SSDQF 80 |
80 |
7.5 |
1.5 |
0.75 |
800 |
|
9 |
SSDQF 100 |
100 |
7.5 |
1.5 |
0.75 |
1000 |

|